雙11、雙12、年終大促、年貨節、臘八節······別人投放的鉆展無線效果咋就這么好?為啥我的就不行?鉆展無線投放也是有技巧滴,今天我就和大家分享下我的無線端的鉆展投放,絕對是好到停不下來哦!
初識無線鉆展是在老展位了,那還是592*296尺寸的時候;現在大多數情況下大家投放的都是640*200的鉆展展位,因為相對于新版的無線,同樣的預算舊版無線是消耗不出去錢了,并不能滿足我們大預算投放想要達到的效果。在鉆展的長期投放中,一直是以PC端的投放占據主要投放思路。
但在2015年的投放中,我們可以很明顯的感覺到,店鋪的無線端流量占比加大,甚至有些店鋪的無線流量占比可以達到百分之70以上,店鋪銷售額無線的占比也很高,這個時候我就把鉆展投放的主要消耗轉移到了無線上來,開始研究如何才能讓無線的鉆展數據飛起來··(以下為截圖的兩個店鋪無線占比情況)


在店鋪無線端流量占比這么大的情況下,我們的鉆展應該如何投放?其實無線端鉆展面臨的情況無外非和PC相似:點擊花費高或者是轉化低。針對以上兩種情況的發生我們可以分析造成的原因,總結如下:
(1)創意不夠好
(2)展位選擇不對
(3)定向不夠精準
找到問題的原因,我們就要開始尋求解決問題的辦法了。對策如下:
1.創意上:鉆展創意要和寶貝的風格以及店鋪的風格相統一(可去鉆展后臺創意COOL借鑒),文案上不用很多,做出的素材簡潔大方即可。



2.展位選擇:640*200和592*296以及其他的陌陌和一些資源
在無線端的投放展位上,我向大家建議以下兩個尺寸的展位,簡稱:舊版無線(592*296)和新版無線(640*200)。舊版無線點擊花費低,但是流量小,大預算容易消耗不完。新版無線流量大,點擊花費低,能夠滿足大預算投放的需求。其他的陌陌等無線資源投放的效果主要為點擊花費低,但是投產不是很樂觀哦


3.定向:建議使用訪客定向和興趣點定向,有DMP定向的優先使用DMP定向。
店鋪基礎好的老客戶比較多的大家只圈定種子店鋪就可以,如果老客戶不夠多就去找自定義店鋪也就是相似店鋪,這樣的話也可以加大圈定的流量范圍。(找自定義店鋪的維度:①店鋪風格②單品風格③寶貝的價格④寶貝的銷量⑤店鋪的銷量⑥店鋪的信譽等)



4、“0點計劃”
從創意、展位、定向上和大家做一個簡單的分享之后,還有一種投放思路現在很少有人投放的,大家可以借鑒下我投放的這種思路,你也可以嘗試下哦(數據是說話的根本,簡稱0點計劃)
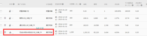
“0點計劃”計劃詳細一覽表如下


計劃投放時間選擇是從0點到早晨的9點,注意是均勻投放不是盡快投放哦

展位上選擇640*200的展位,在創意上使用平時的創意就好,主要是投放時間的區別。

在定向上:結合自己平時使用的效果好的定向來。也可以按照我總結出來的,你的老客戶基數足夠大你就使用種子店鋪,老客戶不夠多就使用自定義店鋪。最后的出價上一定是要比系統的建議價格高的,高出1.5倍以上就好。最后跟大家分享下我投放的店鋪的數據匯總情況,有心動的小伙伴就趕快行動吧,無線端這樣玩耍也很好·····



看到這些點擊花費超低,回報超好的數據,瞬間覺得鉆展無線美美噠噠~趕快行動吧。新年即將來襲,記住給親說的那幾點哦,總結如下:
1.年末鉆展投放無線端必不可少
2.無線夜間計劃單獨投放,小預算,時間選擇晚間時間段
3.定向的選擇可以根據自己測試出來的定向做應用
4.數據優化多分析,素材展位和定向
樂發網超市批發網提供超市貨源信息,超市采購進貨渠道。超市進貨網提供成都食品批發,日用百貨批發信息、微信淘寶網店超市采購信息和超市加盟信息.打造國內超市采購商與批發市場供應廠商搭建網上批發市場平臺,是全國批發市場行業中電子商務權威性網站。
本文來源: 鉆展年終投放-無線起飛





